| Рубрикатор | ![]() |
![]() |
| Статьи | ![]() |
![]() |
| Роман КУЛЬЧИЦКИЙ  | 19 марта 2026 |
Развитие систем электроснабжения ЦОДов для задач ИИ
Широкое использование ИИ-технологий заставляет менять системы электроснабжения ЦОДов. Масштабирование существующих решений упирается в ряд ограничений, преодолеть которые можно внедрением инноваций, в том числе переходом к архитектуре с высоким напряжением постоянного тока.

Развитие искусственного интеллекта кардинально меняет требования к инфраструктуре центров обработки данных. Если раньше системы электроснабжения проектировались для ИТ-оборудования со средней мощностью 5–15 кВт на стойку, то стойки, в которых размещается оборудование для современных ИИ-систем, потребляют уже 150 кВт и более, а в перспективе — до 1 МВт. Это создает серьезные вызовы для традиционных решений в области электроснабжения.
Текущая ситуация
Традиционные системы электроснабжения ЦОДа построены на проверенных решениях (рис. 1):
- внешнее электроснабжение по взаиморезервируемым линиям переменного тока среднего напряжения (10 кВ) с последующим его понижением до 230/400 В;
- гарантированное электроснабжение с помощью дизель-генераторных установок (ДГУ);
- бесперебойное питание через ИБП двойного преобразования, где входной переменный ток сначала конвертируется в постоянный, а затем обратно в переменный;
- распределение питания внутри ИТ-шкафа через стандартные блоки распределения питания (БРП) с разъемами С13 и С19.

Рис. 1. Системы электроснабжения классического ЦОДа
Такая архитектура хорошо отработана и широко представлена на рынке. Однако она не рассчитана на экстремальные нагрузки, создаваемые ИИ-системами. Развитие искусственного интеллекта меняет архитектуру электроснабжения ЦОДа. Это связано с тем, что мощность ИТ-оборудования, размещенного в одной стойке, достигает 150 кВт и более. Блоки питания мощных графических процессоров в таких стойках получают на входе напряжение 50 В постоянного тока, которое обеспечивается при помощи устанавливаемых в стойку силовых выпрямительных модулей (power shelfs) и распределительной шины постоянного тока напряжением 50 В.
Вызовы, связанные с ростом энергопотребления ИИ-систем
На данный момент ключевая проблема электроснабжения ЦОДов для задач ИИ — экспоненциальный рост энергопотребления вычислительных систем. Стремление к повышению производительности заставляет объединять тысячи графических процессоров в единую систему, что создает множество сложностей, в том числе:
- Пространственные ограничения. При мощности более 200 кВт на стойку силовые выпрямительные модули занимают слишком много места, оставляя мало пространства для вычислительных ресурсов.
- Перегрузка медью. Распределение питания при напряжении 50 В постоянного тока требует массивных медных шин. Огромный ток вызывает высокие резистивные потери.
- Неэффективные преобразования. Многократное преобразование переменного тока в постоянный снижает общую энергоэффективность и увеличивает количество потенциальных точек отказа.
- Нестабильность нагрузки. В отличие от ИТ-нагрузки традиционных ЦОДов, ИИ-системы работают синхронно: тысячи графических процессоров выполняют интенсивные вычисления практически одновременно. Это создает резкие колебания энергопотребления, причем скачок от «холостого хода» до 100%-ной загрузки происходит за миллисекунды.
Все эти факторы приводят к тому, что для мегаваттных стоек традиционные системы распределения питания на 50 В постоянного тока становятся физически и экономически нецелесообразными.
Новые подходы к архитектуре электроснабжения
Для решения возникших проблем экспертное сообщество сегодня предлагает подход, включающий в себя два кардинальных изменения: переход на напряжение 800 В постоянного тока и создание интегрированной многоуровневой системы хранения энергии.
Переход на напряжение 800 В позволит:
- сократить потребление меди и снизить затраты: проводник того же сечения при 800 В передает больше энергии;
- повысить эффективность за счет исключения избыточных преобразований тока, что также снизит тепловыделение;
- упростить архитектуру и повысить надежность системы, уменьшив количество потенциальных точек отказа.
В состав многоуровневой интегрированной системы хранения энергии должны входить:
- аккумуляторы кратковременного действия (мощные конденсаторы и суперконденсаторы), сглаживающие высокочастотные скачки напряжения;
- аккумуляторы длительного действия (аккумуляторные батареи) для управления более медленными, но масштабными изменениями мощности и для обеспечения работы при кратковременных отключениях внешней сети.
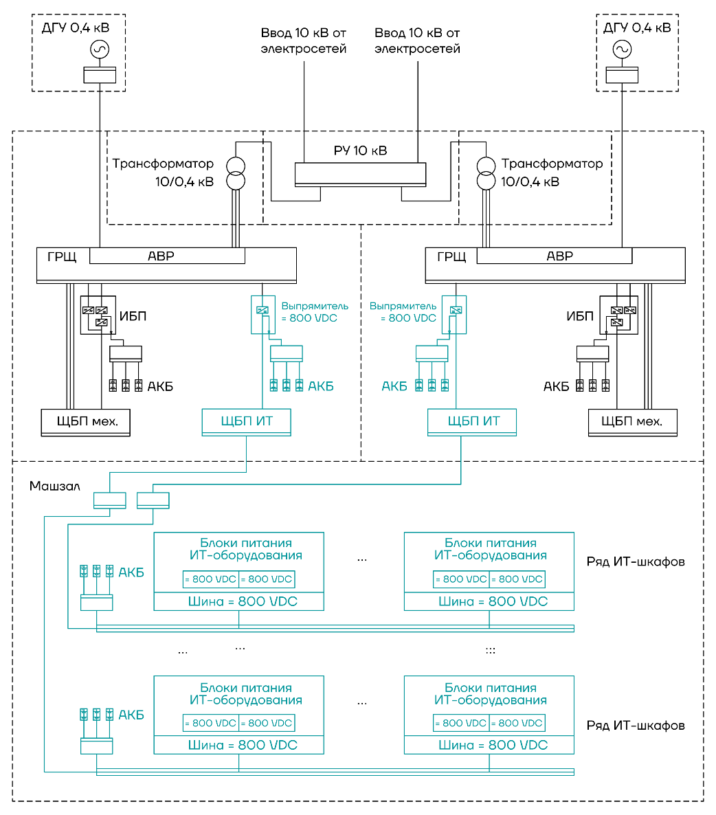
Рис. 2. Система электроснабжения ЦОДа для ИИ
Таким образом, новая архитектура на основе 800 В постоянного тока и интегрированных систем хранения энергии (рис. 2) не только позволит увеличить мощность одной стойки до 1 МВт и более, но и повысить энергоэффективность и надежность ЦОДа, а также снизить затраты на материалы и обслуживание.
Перспективы и долгосрочные цели
Развитие ИИ‑технологий представляет для отрасли серьезный вызов: существующие системы электроснабжения ЦОДов, оптимизированные для умеренных нагрузок, не справляются с растущими требованиями. Резкие колебания энергопотребления и необходимость поддерживать мегаваттные вычислительные стойки требуют принципиально новых решений.
Ответом становится постепенный переход к архитектуре электроснабжения с использованием постоянного тока более высокого напряжения. Уже сейчас компания Nvidia разрабатывает вычислительную систему Kyber, специально адаптированную для работы с напряжением 800 В постоянного тока. Внедрение такой архитектуры позволит существенно повысить энергоэффективность за счет устранения избыточных преобразований тока, снизить затраты на материалы благодаря уменьшению сечения проводников, упростить конструкцию системы и повысить ее надежность, а также обеспечить масштабируемость — вплоть до 1 МВт на стойку и более.
Долгосрочные планы еще более радикальны: ожидается, что наиболее перспективным окажется переход к системе с напряжением 1500 В постоянного тока. Это откроет новые возможности для роста вычислительной мощности и оптимизации энергопотребления в ЦОДах, позволяя эффективнее решать задачи, стоящие перед современными ИИ‑системами.
Успех трансформации отрасли зависит от слаженной работы всех ее участников. Важнейшую роль здесь играет стандартизация — например, усилия сообщества Open Compute Project (OCP) по разработке открытых стандартов обеспечивают совместимость компонентов, ускоряют внедрение инноваций и снижают затраты для всей экосистемы. Не менее значимо и активное сотрудничество между ключевыми игроками рынка: так, Nvidia выстраивает партнерские отношения с широким кругом компаний — от поставщиков кремниевых компонентов (Analog Devices, Infineon Technologies, Texas Instruments и др.) до производителей компонентов энергосистемы (Delta, Flex, LITEON) и разработчиков систем электропитания для ЦОДов (ABB, Eaton, Schneider Electric).
В ближайшие годы модернизация системы электроснабжения станет не просто технической задачей, а ключевым фактором развития инфраструктуры для ИИ‑систем. Поэтапный переход от традиционных решений к архитектуре с высоким напряжением постоянного тока не только решит текущие проблемы энергопотребления, но и заложит прочный фундамент для дальнейшего роста производительности и масштабирования ИИ‑технологий в будущем.
Роман Кульчицкий, ведущий инженер-проектировщик систем электроснабжения, STEP LOGIC
Заметили неточность или опечатку в тексте? Выделите её мышкой и нажмите: Ctrl + Enter. Спасибо!















